Veiligheidstoestel

Uit tutiwiki
Naar navigatie springen Naar zoeken springen
Hoofdpagina | Ketels | Appendages
Veiligheidstoestel
Veiligheidstoestel foto.jpg

Algemeen

Veiligheidstoestellen zorgen ervoor dat de hoogst toegestane stoomdruk in de ketel niet wordt overschreden. Op elke ketel moeten twee veiligheidstoestellen aanwezig zijn. De klepopening en de doorlaat van de toe- en afvoerkanalen moeten zo groot zijn, dat de grootst mogelijk ontwikkelde hoeveelheid stoom door elk van deze toestellen kan worden afgevoerd zonder dat de druk in de ketel meer dan 15% boven de hoogst toegestane werkdruk stijgt.

De beide veiligheidstoestellen zijn ondergebracht in één huis. Elk veiligheidstoestel bestaat uit een klep, zitting, drukpen, hefboom en een gewicht bestaande uit een aantal schijven. Men spreekt in dit geval van een dubbel veiligheidstoestel met indirecte gewichtsbelasting. Bij indirecte gewichtsbelasting hangt het gewicht aan een hefboom; bij directe gewichtsbelasting ontbreekt de hefboom en is het gewicht direct op de drukpen geplaatst. Het gewicht mag massief zijn of uit een aantal schijven bestaan. De schijven moeten van dezelfde materiaalsoort vervaardigd zijn en mogen alleen in dikte verschillen. Een massief gewicht mag niet zwaarder zijn dan 25 kg.

Werking

Op de klep van het veiligheidstoestel werken twee krachten, namelijk: Een kracht in opwaartse richting die ontstaat door de druk van de stoom tegen de onderkant van de klep. Een kracht in neerwaartse richting tengevolge van het gewicht van de schijven aan de hefboom, de hefboom zelf, de drukpen en de klep. Is de stoomdruk in de ketel gelijk aan of lager dan de hoogst toegestane werkdruk, dan is de neerwaartse kracht gelijk aan of groter dan de opwaartse en zal de klep gesloten zijn. Wanneer de druk in de ketel boven de hoogst toegestane werkdruk komt wordt de opwaartse kracht groter dan de neerwaartse en zal de klep openen. De lichthoogte van de klep is afhankelijk van de druk in de ketel. Stijgt de druk, dan zal de klep verder openen om de grotere hoeveelheid stoom te kunnen afvoeren. Daalt de druk, dan zal de neerwaartse kracht weer gaan overheersen en sluit de klep. Bij het bereiken van de hoogst toegestane werkdruk zal de klep weer gesloten zijn.

Veiligheidstoestel ketel 1

Toestel met hooglichtende klep

In tegenstelling tot ketel 2 en 3 heeft ketel 1 een veiligheidstoestel met hooglichtende klep. Een veiligheidstoestel met hooglichtende kleppen is voorzien van een opstaande rand boven de zitting en een overhangend gedeelte aan de klep. Wordt bij dit toestel de hoogst toegestane werkdruk overschreden, dan opent de klep zoals hiervoor omschreven. De opstaande rand dwingt de stoom in opwaartse richting te stromen tegen het overhangend gedeelte van de klep waardoor de kracht op de klep toeneemt en deze verder gelicht wordt. De klep sluit als de keteldruk tot onder de hoogst toegestane werkdruk gedaald is. Dit wordt veroorzaakt door de druk tegen het overhangend gedeelte van de klep. Omdat de lichthoogte van deze kleppen groter is kan meer stoom afgeblazen worden. Bij een zelfde ketel kan dus een kleiner en lichter veiligheidstoestel toegepast worden. Veiligheidstoestellen met hooglichtende kleppen moeten voorzien zijn van een afblaasleiding naar de buitenlucht.

Klep in geopende toestand

Berekening

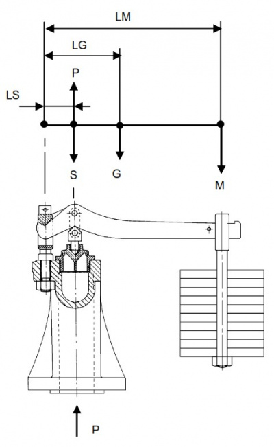
Bij het berekenen van de belasting op het veiligheidstoestel wordt aangenomen dat de werkdruk P tegen de klep een druk uitoefent op een oppervlak begrensd door een cirkel, waarvan de middellijn 2mm groter is dan die van de klepopening.

De hefboom is in evenwicht als in de ketel de hoogst toegestane werkdruk heerst. De belasting kan dan berekend worden met de formule:

     LS{1/4ΠP (D + 0,2)2 -  S } -LG x G
M = ----------------------------------------------
                        LM

Hierin is:

  • M het totaal gewicht van de schijven in kg.
  • G het gewicht van de hefboomsarm in kg.
  • S het gewicht van de drukpen en de klep in kg. D de diameter van de klepopening in cm.
  • P de hoogst toegestane werkdruk in kg/cm2.
  • LG de afstand van het hart van het scharnierpunt van de hefboom tot het zwaartepunt van de hefboom in cm.
  • LM de afstand van het hart van het scharnierpunt van de hefboom tot het hart van het gewicht in cm.
  • LS de afstand van het hart van het scharnierpunt tot het hart van de drukpen in cm.
Veiligheidsteostel krachten op de hefboom.jpg